山东多条高速车辆通行缓慢!
10月8日
返程车辆增多
山东交通出行服务网站发布
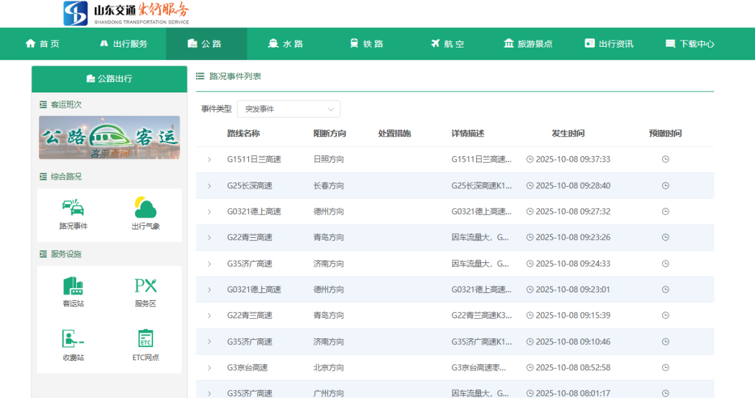
最新路况
▼
·2025-10-08 10:31:22 因车流量大,G1511日兰高速K133+000日照方向车辆通行缓慢。 ·2025-10-08 10:23:21 S38岚菏高速K038+250岚山方向一货车故障,现正在处理中,现场通行正常。 ·2025-10-08 10:20:58 因车流量大,G0321德上高速K174+000德州方向车辆通行缓慢。 ·2025-10-08 10:18:13 因车流量大,G1813威青高速K207+800至K208+800青岛方向车辆通行缓慢。 ·2025-10-08 10:15:36 因车流量大,G2京沪高速北京方向转G1511日兰高速双向(竹园枢纽)匝道车辆通行缓慢。 ·2025-10-08 10:12:26 因车流量大,G1511日兰高速K132+000日照方向车辆通行缓慢。 ·2025-10-08 10:09:27 S29滨台高速K259+300滨州方向一小型车故障,现正在处理中,现场通行正常。 ·2025-10-08 10:00:58 G18荣乌高速K133+200荣成方向两小型车追尾,现事故正在处理中,现场通行正常。 ·2025-10-08 09:37:33 G1511日兰高速K157+100日照方向一小型车故障,现正在处理中,现场通行正常。 ·2025-10-08 09:28:40 G25长深高速K1601+000长春方向一小型车故障,现正在处理中,现场通行正常。 ·2025-10-08 09:27:32 G0321德上高速K149+600德州方向两小型车追尾,车辆通行缓慢,现事故正在处理中。 ·2025-10-08 09:23:26 因车流量大,G22青兰高速K396+700青岛方向车辆通行缓慢。 ·2025-10-08 09:24:33 因车流量大,G35济广高速K024+000济南方向车辆通行缓慢。 ·2025-10-08 09:24:52 S31泰新高速K036+300临沂方向一货车故障,现正在处理中,现场通行正常。 ·2025-10-08 09:19:04 因车流量大,G35济广高速K032+000济南方向车辆通行缓慢。 ·2025-10-08 09:23:01 G0321德上高速K259+000德州方向一小型车故障,现正在处理中,现场通行正常。 ·2025-10-08 09:15:39 G22青兰高速K396+600青岛方向两小型车追尾,现事故正在处理中,现场通行正常。 ·2025-10-08 09:11:2 因车流量大,G35济广高速K037+000广州方向车辆通行缓慢。 ·2025-10-08 09:10:46 G35济广高速K125+100济南方向一小型车故障,现正在处理中,现场通行正常。 ·2025-10-08 08:33:11 S1济聊高速K020+000济南方向多车追尾,现事故正在处理中,现场通行正常。 ·2025-10-08 08:52:58 G3京台高速枣庄站北京方向出口车道一小型车撞护栏,现事故正在处理中,现场通行正常。 ·2025-10-08 08:01:17 因车流量大,G35济广高速K023+000广州方向车辆通行缓慢。 ·2025-10-08 07:48:19 G2001济南绕城高速K054+000至K055+000逆时针方向车辆通行缓慢。 ·2025-10-08 07:13:19 因车流量大,G2001济南绕城高速K072+000顺时针方向车辆通行缓慢。


来源:山东交通出行服务网站、琅琊新闻网
编辑:姚璐
一级审核:张君
二级审核:王璇
三级审核:许珊珊